全國服務熱線:
+86-372-2595077/2595078/2595088
用途:
本系列產品是一種機電轉換裝置,在直流12V/24V的電液比例控制系統(tǒng)中與比例控制放大器配套使用,平行替代SUN 型PRDM比例溢流閥。電磁鐵輸出力通過負載彈簧轉換成位移,實現電流-力-位移線性轉換,采用中心螺紋固定電磁鐵,更換電磁鐵線圈時無需拆卸液壓裝置,可任意方向安裝,電磁線圈絕緣等級為H級,可承受210bar 壓力,防護等級IP67,IP69K,該型電磁鐵適用于工程環(huán)境。
主要技術參數
型號 | GP37-S-R | |
適用環(huán)境溫度 (℃) | -20~+70 | |
有效行程 (mm) | 2 | |
全行程 (mm) | 2.7±0.25 | |
建議使用行程范圍 (mm) | 0.5~1.5 | |
額定吸力 (N) | 50 | |
力滯環(huán) (%) | ≤4 | |
電流滯環(huán) (%) | ≤3 | |
重復精度 (%) | ≤1 | |
電源電壓 (V) | 24 | 12 |
額定電流 (A) | 0.6 | 1.2 |
*大電流 (A) | 0.68 | 1.36 |
額定電阻20℃ (Ω) | 22.7 | 5.5 |
額定功率 (W) | 8.2 | 8 |
*大功率 (W) | 16 | 15.3 |
穩(wěn)態(tài)行程-力特性曲線
24V 示例

位移(mm)
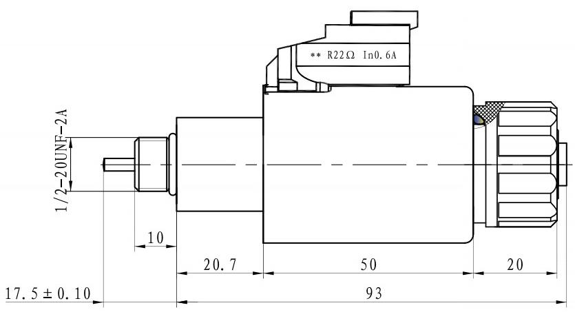
外形及安裝尺寸

使用注意事項
● 電磁鐵插座標準:DT04 -2P。
● 電氣控制系統(tǒng)與電磁鐵連接部分之間應設有過流保護裝置,以免非正常情況下,燒毀電磁鐵及您的電控元件。
● 液壓系統(tǒng)工作介質為礦物油,磷酸脂油。
● 電磁鐵為連續(xù)工作制。
樣本說明
● 對超出本樣本要求的應用場合,請詢問本公司。
● 特性曲線僅供參考。
● 主要特性參數均為實驗室條件下獲得。本公司保留修改參數的權力
中文(簡體)
English
Русский
Espa?ol